Kia Carens: Lighting System / Rheostat Repair procedures

Kia Carens RP (2013-2018) Service Manual / Body Electrical System / Lighting System / Rheostat Repair procedures

Inspection
1.
Disconnect the negative (-) battery terminal.
2.
Using a screwdriver or remover, remove the crash pad side cover [LH] (A).

3.
Remove the lower crash pad switch assembly (A) by pushing it through crash pad side cover hole.
And then disconnect the the connetors (B) from the lower crash switch assembly.

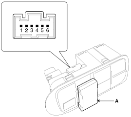
4.
Remove the rheostat switch (A).

5.
Check for intensity of new rheostat switch. If the light intensity of the lamps changes smoothly without any flickering when the rheostat is turned, it can be assumed that the rheostat is normal.

Hazard Lamp Switch Repair procedures
Inspection 1. The SJB can be diagnosed by using the GDS. The SJB communicates with the GDS which then displays inputs and outputs along with codes. It ...

Fog Lamps Repair procedures
Inspection Fog Lamp Switch 1. With the fog lamp switch in each position, make sure that continuity exists between the terminals below. If continuity is not as ...

Other information:

Kia Carens RP (2013-2018) Owners Manual: Blind spot detection system (BSD)


The BSD (Blind spot detection) system uses a radar sensor to alert the driver while driving. It senses the rear side territory of the vehicle and provides information to the driver. ➀ BSD(Blind spot detection) Warning range is dependent on your vehicle speed. However, if the speed of your vehi ...

Kia Carens RP (2013-2018) Owners Manual: Anti-lock Brake System (ABS) Warning Light


This warning light illuminates: Once you set the ignition switch or Engine Start/Stop Button to the ON position. - It illuminates for approximately 3 seconds and then goes off. When there is a malfunction with the ABS (The normal braking system will still be operational without the assistance ...

Copyright © www.kicaman.com 2015-2026