Kia Carens: Rear Seat / Rear Seat Cushion Cover Repair procedures

Kia Carens RP (2013-2018) Service Manual / Body (Interior and Exterior) / Rear Seat / Rear Seat Cushion Cover Repair procedures

Replacement
[Second row seat assembly]
(Except Europe and Australia)
[5-seat vehicle]
  
Put on gloves to protect your hands.
  
When prying with a flat-tip screwdriver, wrap it with protective tape, and apply protective tape around the related parts, to prevent damage.
Use a plastic panel removal tool to remove interior trim pieces to protect from marring the surface.
Take care not to bend or scratch the trim and panels.
1.
Remove the second row seat assembly.
(Refer to Rear Seat - "Rear Seat Assembly")
2.
Loosen the rear seat recliner lever mounting screw.
3.
To remove the rear seat recliner lever (A), and then remove the rear seat recliner lever after pushing the lock pin (B).

4.
After loosening the mounting screws, then remove the rear seat shield outer cover [LH] (A).

5.
Loosen the rear seat recliner lever mounting screw.
6.
To remove the rear seat recliner lever (A), and then remove the rear seat recliner lever after pushing the lock pin (B).

7.
After loosening the mounting screws, then remove the rear seat shield outer cover [RH] (A).

8.
Remove the rear seat lower protector (A).
[LH]

[RH]

9.
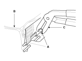
Pull out the hooks (A) by the rear seat cushion frame.

10.
Disconnect the heater unit connector (A) and remove the rear seat cushion frame mounting clips (B).

11.
Pull out down the rear seat belt buckle (A).

12.
Remove the rear seat cushion cover (A) from the rear seat cushion frame.

13.
After removing the velcro tape (A) and hog-ring clips (B) on the rear of seat cushion and remove the rear seat cushion cover (C).

14.
Install in the reverse order of removal.
  
To prevent wrinkles, make sure the material is stretched evenly over the cover (B) before securing the hog-ring clips (A).
Replace the hog-ring clips with new ones using special tool (C) (09880-4F000).

(Except Europe and Australia)
[7-seat vehicle]
(LH)
  
Put on gloves to protect your hands.
  
When prying with a flat-tip screwdriver, wrap it with protective tape, and apply protective tape around the related parts, to prevent damage.
Use a plastic panel removal tool to remove interior trim pieces to protect from marring the surface.
Take care not to bend or scratch the trim and panels.
1.
Remove the second row seat assembly [LH].
(Refer to Rear Seat - "Rear Seat Assembly")
2.
Loosen the rear seat recliner lever mounting screw.
3.
To remove the rear seat recliner lever (A), and then remove the rear seat recliner lever after pushing the lock pin (B).

4.
After loosening the mounting screw, then remove the rear seat shield outer cover (A).

5.
Remove the rear seat lower protector (A).

6.
Remove the rear seat cushion mounting protector (A).

7.
Disconnect the heater unit connector (A) and remove the rear seat cushion frame mounting clips (B).

8.
After loosening the mounting bolts, then remove the rear seat cushion frame assembly (A).
[Front]

[Rear]

9.
Pull out the hooks (A) by the rear seat cushion frame.

10.
Remove the rear seat cushion cover (A) from the rear seat cushion frame (B).

11.
After removing the velcro tape (A) and hog-ring clips (B) on the rear of seat cushion and remove the rear seat cushion cover (C).

12.
Install in the reverse order of removal.
  
To prevent wrinkles, make sure the material is stretched evenly over the cover (B) before securing the hog-ring clips (A).
Replace the hog-ring clips with new ones using special tool (C) (09880-4F000).

(RH)
  
Put on gloves to protect your hands.
  
When prying with a flat-tip screwdriver, wrap it with protective tape, and apply protective tape around the related parts, to prevent damage.
Use a plastic panel removal tool to remove interior trim pieces to protect from marring the surface.
Take care not to bend or scratch the trim and panels.
1.
Remove the second row seat assembly [RH].
(Refer to Rear Seat - "Rear Seat Assembly")
2.
Loosen the rear seat recliner lever mounting screw.
3.
To remove the rear seat recliner lever (A), and then remove the rear seat recliner lever after pushing the lock pin (B).

4.
After loosening the mounting screw, then remove the rear seat shield outer cover (A).

5.
After loosening the mounting bolt, then remove the second row seat belt buckle [RH] (A).
Tightening torque :
39.2 ~ 53.9 N.m (4.0 ~ 5.5 kgf.m, 28.8 ~ 39.8 lb-ft)

6.
After loosening the mounting screw, then remove the rear seat shield inner cover (A).

7.
Remove the rear seat lower protector (A).

8.
Remove the rear seat cushion mounting protector (A).

9.
After loosening the mounting bolts, then remove the rear seat cushion frame assembly (A).
[Front]

[Rear]

10.
Remove the rear seat cushion frame mounting clips (A).

11.
Pull out the hooks (A) by the rear seat cushion frame.

12.
Remove the rear seat cushion cover (A) from the rear seat cushion frame (B).

13.
After removing the velcro tape (A) and hog-ring clips (B) on the rear of seat cushion and remove the rear seat cushion cover (C).

14.
Install in the reverse order of removal.
  
To prevent wrinkles, make sure the material is stretched evenly over the cover (B) before securing the hog-ring clips (A).
Replace the hog-ring clips with new ones using special tool (C) (09880-4F000).

(For Europe and Australia)
[5/7-seat vehicle]
  
Put on gloves to protect your hands.
  
When prying with a flat-tip screwdriver, wrap it with protective tape, and apply protective tape around the related parts, to prevent damage.
Use a plastic panel removal tool to remove interior trim pieces to protect from marring the surface.
Take care not to bend or scratch the trim and panels.
1.
Remove the second row seat assembly.
(Refer to Rear Seat - "Rear Seat Assembly")
2.
Loosen the rear seat recliner lever mounting screw.
3.
To remove the rear seat recliner lever (A), and then remove the rear seat recliner lever after pushing the lock pin (B).

4.
After loosening the mounting screw, then remove the rear seat shield outer cover (A).

5.
After loosening the mounting screw, then remove the rear seat shield inner cover (A).

6.
Remove the rear seat lower protector (A).

7.
Remove the rear seat cushion mounting protector (A).

8.
Disconnect the heater unit connector (A) and remove the rear seat cushion frame mounting clips (B).

9.
After loosening the mounting bolts, then remove the rear seat cushion frame assembly (A).
[Front]

[Rear]

10.
Remove the seat belt buckle wiring mounting clips (A).

11.
Pull out the hooks (A) by the rear seat cushion frame.

12.
Remove the rear seat cushion cover (A) from the rear seat cushion frame (B).

13.
After removing the velcro tape (A) and hog-ring clips (B) on the rear of seat cushion and remove the rear seat cushion cover (C).

14.
Install in the reverse order of removal.
  
To prevent wrinkles, make sure the material is stretched evenly over the cover (B) before securing the hog-ring clips (A).
Replace the hog-ring clips with new ones using special tool (C) (09880-4F000).

[Third row seat assembly]
  
Put on gloves to protect your hands.
  
When prying with a flat-tip screwdriver, wrap it with protective tape, and apply protective tape around the related parts, to prevent damage.
Use a plastic panel removal tool to remove interior trim pieces to protect from marring the surface.
Take care not to bend or scratch the trim and panels.
1.
Remove the third row seat assembly.
(Refer to Rear Seat - "Rear Seat Assembly")
2.
Remove the rear seat side link cover (A).
[LH]

[RH]

3.
Loosen the rear seat frame mounting bolts (A).
Tightening torque :
44.1 ~ 53.9 N.m (4.5 ~ 5.5 kgf.m, 32.5 ~ 39.8 lb-ft)

4.
Push the rear seat cushion frame (A) to the front of the vehicle as far as possible.

5.
Pull out the hooks (A) by the rear seat cushion frame.

6.
Remove the rear seat cushion cover (A) from the rear seat cushion frame (B).

7.
After removing the hog-ring clips (A) on the rear of seat cushion and remove the rear seat cushion cover (B).

8.
Install in the reverse order of removal.
  
To prevent wrinkles, make sure the material is stretched evenly over the cover (B) before securing the hog-ring clips (A).
Replace the hog-ring clips with new ones using special tool (C) (09880-4F000).

Rear Seat Cushion Cover Components and components location
Component Location [Second row seat assembly] (Except Europe and Australia) [5-seat vehicle] 1. Rear seat cushion cover ...

Rear Seat Folding Lever Components and components location
Component Location [Second row seat assembly] (Except Europe and Australia) [5-seat vehicle] 1. Rear seat back webbing lever ...

Other information:

Kia Carens RP (2013-2018) Service Manual: Fuel Line Repair procedures


Removal 1. Release the residual pressure in fuel line. (Refer to Fuel Delivery System - “Release Residual Pressure in Fuel Line”) 2. Turn the ignition switch OFF, and then remove battery (-) cable. ...

Kia Carens RP (2013-2018) Owners Manual: Operating condition


This system activates when the parking assist system button is pressed with the ignition switch ON. The indicator of the parking assist system button turns on automatically and activates the parking assist system when you shift the gear to the R(Reverse) position or press the SPAS button ( ...

Copyright © www.kicaman.com 2015-2025