Kia Carens: Driveshaft Assembly / Dynamic Damper Repair procedures

Kia Carens RP (2013-2018) Service Manual / Driveshaft and axle / Driveshaft Assembly / Dynamic Damper Repair procedures

Replacement
1.
Remove the front driveshaft.
(Refer to Driveshaft Assembly - “Front Driveshaft”)
2.
Remove the TJ joint assembly.
(Refer to Driveshaft Assembly - “TJ joint”)
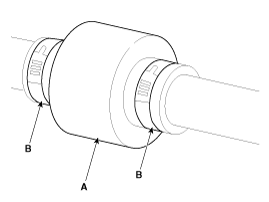
3.
Remove the remove the both side of band (B) of the dynamic damper (A).

4.
Fix the driveshaft (A) with a vice (B) as illustrated.

5.
Apply soap powder on the shaft to prevent being damaged between the shaft spline and the dynamic damper when the dynamic damper is removed.
6.
Seperate the dynamic damper (A) from the shaft (B) carefully.

Installation
1.
Apply soap powder on the shaft to prevent being damaged between the shaft spline and the dynamic damper.
2.
Install the dynamic damper.
3.
Install the dynamic damper band (A).
4.
Using the SST(09495-3K000), secure the TJ boot bands (B).
Clearance (A): 2.0 mm (0.0787 in.) or less

5.
Install the TJ joint assembly.
(Refer to Driveshaft Assembly - “TJ Joint”)
6.
Install the front driveshaft.
(Refer to Driveshaft Assembly - “Front Driveshaft”)
7.
Check the front alignment.
(Refer to Suspension System - "Front Alignment")
Dynamic Damper Components and components location
Components 1. BJ assembly 2. BJ circlip 3. BJ boot band 4. BJ boot 5. Dynamic damper band 6. Dynamic damper 7. Shaft 8. TJ boot ban ...

BJ Boot Components and components location
Components 1. BJ assembly 2. BJ circlip 3. BJ boot band 4. BJ boot 5. Dynamic damper band 6. Dynamic damper 7. Shaft 8. TJ boot ban ...

Other information:

Kia Carens RP (2013-2018) Owners Manual: Resetting the sunroof


Whenever the vehicle battery is disconnected or discharged, or related fuse is blown, you must reset your sunroof system as follows: 1.Start the engine. 2.Close the sunroof completely if opened. 3.Release the sunroof control lever. 4.Push the sunroof control lever forward in the direction of close ...

Kia Carens RP (2013-2018) Owners Manual: OFF


With manual transaxle To turn off the engine (START/RUN position) or vehicle power (ON position), stop the vehicle then press the engine start/stop button. With automatic transaxle / Dual clutch transmission To turn off the engine (START/RUN position) or vehicle power (ON position), press the eng ...

Copyright © www.kicaman.com 2015-2026