Kia Carens: Manual Transaxle Control System / Control Cable Repair procedures

Kia Carens RP (2013-2018) Service Manual / Manual Transaxle System / Manual Transaxle Control System / Control Cable Repair procedures

Removal
1.
Remove the floor console assembly.
(Refer to Body - " Floor Console")
2.
Remove the brakcet (A).

3.
Remove the select cable (B) after removing the clip (A).

4.
Remove the shift cable (A) after removing the clip.

5.
Remove the cable socket clip (A) from lever assembly after pulling in the direction of the arrow.

6.
Remove the retainer (A) after loosen the nut (B).

7.
Remove the air cleaner assembly.
(Refer to Engine Mechanical System - "Air Cleaner")
8.
Remove the battery and battery tray.
(Refer to Engine Electrical System - "Battery")
9.
Remove the shift & select cable.
(1)
Remove the pin (A) and washer (B).
(2)
Make unlock clip (C) and then remove the shift & select cable and the clip (C) from the bracket.

Installation
  
When installing, set room side Shift lever and T/M side lever to N position.
1.
Install the control cable (B) and clip (A) on the bracket.
  
Do not reuse the clip (A).

2.
Install the control cable and then install the pin (A) and washer (B).

3.
Tighten the nut (B) after install the retainer (A).
Tightening torque:
11.8 ~ 14.7 N.m (1.2 ~ 1.5 kgf.m, 8.7 ~ 10.8 lb-ft)

4.
Install the cable socket (A) on the shift lever assembly.

5.
Install the shift cable (A) after installing the clip.

6.
Shift lever to "3rd".
7.
Install the clip (A) after installing the select cable (B).
  
Adjust the select cable before Installing the snap pin.
(Refer to Control Cable - "Adjustment")

8.
Install the floor console assembly.
(Refer to Body - "Floor Console")
9.
Install the battery and battery tray.
(Refer to Engine Electrical System - "Battery")
10.
Install the air cleaner assembly.
(Refer to Engine Electrical System - "Battery")
Adjustment
Select cable adjustment
1.
Remove the select cable clip (A) and then remove the select cable (B) from the shift lever pin.

2.
Shift the shift lever to 3rd gear.
3.
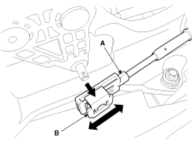
Move the slide clip (B) of guide member (A) in the direction as shown in the illustration.

4.
Install the select cable (A).

5.
Insert the slide clip in the direction as shown in the illustration and then install the clip (A).

Control Cable Components and components location
Components 1. Knob 2. Boots 3. Shift lever assembly 4. Select cable clip 5. Shift cable clip 6. Shift cable 7. Select cable 8. Cable retain ...

Control Shaft Complete Description and operation
Description Component location : Control shaft assembly is mounted on the top of the manual transaxle Function : Change the gear by shifting a shift lever. ...

Other information:

Kia Carens RP (2013-2018) Owners Manual: Engine Oil Level Warning Light


This warning light illuminates: Once you set the ignition switch or Engine Start/Stop Button to the ON position - It remains on until the engine is started. When the engine oil level should be checked. If the engine oil level is low: 1. Drive carefully to the nearest safe location and stop you ...

Kia Carens RP (2013-2018) Owners Manual: Changing a tire with TPMS


If you have a flat tire, the Low Tire Pressure telltale will come on. We recommend that the system be checked by an authorized Kia dealer. CAUTION We recommend that you use the sealant approved by Kia. The sealant on the tire pressure sensor and wheel shall be eliminated when you replace the tire ...

Copyright © www.kicaman.com 2015-2026