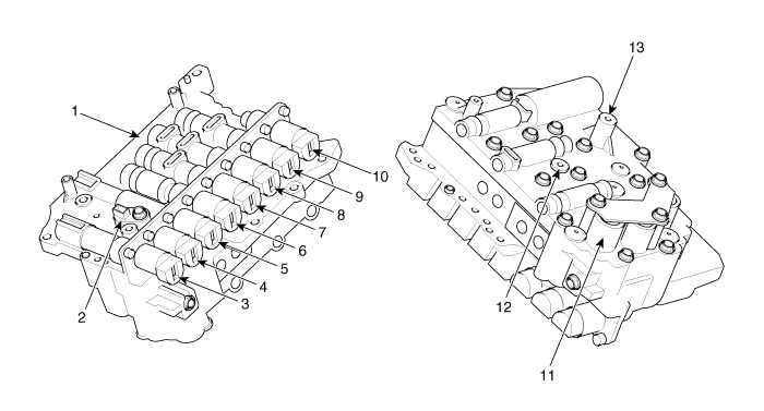
| Components Location |

| 1. Pressure
Control Valve(PCV) adjust screw 2. Oil temperature sensor 3. Line Pressure Control Solenoid Valve 4. SS-A Solenoid Valve(ON/OFF) 5. SS-B Solenoid Valve(ON/OFF) 6. Overdrive Clutch Control Solenoid Valve(OD/C) 7. Underdrive Brake Control Solenoid Valve(UD/B) |
8. 26
Brake Control Solenoid Valve(26/B) 9. 35R Clutch Control Solenoid Valve(35R/C) 10. Torque Converter Control Solenoid Valve (T/CON) 11. Accumulator 12. Low & reverse brake(LR/B)pressure flow hole 13. Under drive brake(UD/B)pressure flow hole |

| 1. To
cooler 2. From cooler 3. Lubrication(rear) 4. OD Clutch pressure 5. Reducing pressure (red2) 6. Reducing pressure (red1) 7. Damper release pressure 8. Damper apply pressure |
9. Lubrication(front)
10. 35R Clutch pressure 11. 26 Brake pressure 12. From oil pump 13. To oil pump 14. Underdrive(UD) Brake pressure 15. Low & reverse pressure |
Valve Body Description and operation
Valve Body Repair procedures