Kia Carens: Clutch Cover And Disc / Repair procedures

Kia Carens RP (2013-2018) Service Manual / Clutch System / Clutch Cover And Disc / Repair procedures

Removal
1.
Remove the transaxle assembly.
G 1.6 GDI (Refer to Manual Transaxle System - " Manual Transaxle")
G 2.0 GDI (Refer to Manual Transaxle System - " Manual Transaxle")
G 2.0 MPI (Refer to Manual Transaxle System - " Manual Transaxle")
D 1.7 LP (Refer to Manual Transaxle System - " Manual Transaxle")
D 1.7 HP (Refer to Manual Transaxle System - " Manual Transaxle")
2.
Remove the clutch cover bolts. Be careful not to be bent or twist bolts. Loosen bolts in diagonal directions.
[Gasoline 1.6]

[Gasoline 2.0, Diesel 1.7 LP]

[Diesel 1.7 HP]

Inspection
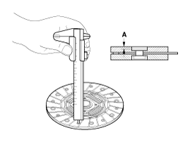
1.
Inspect diaphragm spring wear which is in contact with a clutch release bearing (In case of diesel 1.7 HP: Inspect the concentric slave cylinder bearing).
2.
Check the clutch cover and disc surface for wear or cracks.
3.
Check the clutch disc facing for slipping or oil marks.
4.
Measure the depth from a clutch facing surface to a rivet. If the measured value is less than the specification below, replace it.
Clutch disc rivet depth (A) :
0.3 mm (0.0118 in.)

Installation
  
Clutch cover and disc should be replaced as a set.
1.
Apply grease on a disc spline part and transaxle input shaft spline part as required.
2.
Install the clutch disc and the cover by using the SST (09411-1P000).
  
When installing the cover, remove the foreign of material of flywheel and pressure plate completely.
Make sure about the direction of the clutch disk when installing.
Gasoline 2.0, Diesel 1.7 LP: The 'FLYWHELL SIDE' marked surface should face the flywheel.

Gasoline 1.6, Diesel 1.7 HP: The 'T/M SIDE' marked surface should face the transaxle.

3.
Tighten the clutch cover bolts.
  
Loosely tighten every clutch cover bolts and then tighten the bolt to specifications torque in a diagonal direction. This can prevent twisting, vibration of the cover, and the lifting of the pressure plate.
[Gasoline 1.6]
Tightening torque :
14.7 ~ 21.6 N.m (1.5 ~ 2.2 kgf.m, 10.8 ~ 15.9 lb-ft)

[Gasoline 2.0, Diesel 1.7 LP]
Tightening torque :
11.8 ~ 14.7 N.m (1.2 ~ 1.5 kgf.m, 8.7 ~ 10.8 lb-ft)

[Diesel 1.7 HP]
Tightening torque:
24.5 ~ 34.3 N.m (2.5 ~ 3.6 kgf.m, 18.1 ~ 26.0 lb-ft)

4.
Install the transaxle assembly.
(Refer to Manual Transaxle System - " Manual Transaxle")
Components and components location
Components [Gasoline 1.6 / 2.0, Diesel 1.7 LP] [Diesel 1.7 HP] 1. Engine flywheel 2. Clutch disc 3. Clutch cover 4. Manual tr ...

Clutch Switch
...

Other information:

Kia Carens RP (2013-2018) Owners Manual: Shift lock system


For your safety, the Dual clutch transmission has a shift lock system which prevents shifting the transaxle from P (Park) or N (Neutral) into R (Reverse) unless the brake pedal is depressed. To shift the transaxle from P (Park) or N (Neutral) into R (Reverse): 1. Depress and hold the brake pedal. ...

Kia Carens RP (2013-2018) Owners Manual: Light bulbs


WARNING - Working on the lights Prior to working on the light, firmly apply the parking brake, ensure that the ignition switch is turned to the “LOCK”position (smart key: turn off the engine) and turn off the lights to avoid sudden movement of the vehicle and burning your fingers or getting a ...

Copyright © www.kicaman.com 2015-2026