Kia Carens: Indicators And Gauges / Instrument Cluster Schematic diagrams




Components
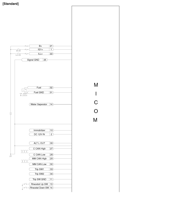
Connector Pin Information
No.
Description
Remark
No.
Description
Remark
...
Description
Cluster Variant Coding
As we have more options (ESC, TPMS, SCC, etc.) in the car, the dashboard now
have more information to display depending on the chosen options. ...
Other information:
Description
Emissions Control System consists of three major systems.
•
The Crankcase Emission Control System prevents blow-by gas from releasing
into the atmosphere. This system recycles gas back into the intake manifold
(Closed Crankcase Ventilatio ...
Components
1. Clutch
switch
2. Ignition lock switch
3. Clutch pedal assembly
4. Master cylinder assembly
5. Connector
(Only diesel)
6. Regulator (Only diesel)
7. Clutch tube
...