Kia Carens: Front Suspension System / Front Strut Assembly Repair procedures
| 1. |
Loosen the wheel nuts slightly.
Raise the vehicle, and make sure it is securely supported.
|
| 2. |
Remove the front wheel and tire (A) from front hub.
|
Tightening torque:
88.2 ~ 107.8 N.m (9.0 ~ 11.0 kgf.m, 65.0 ~ 79.5 lb-ft)
|

| •
|
Be careful not to damage to the hub bolts when removing
the front wheel and tire (A).
|
|
|
| 3. |
Remove the wheel speed sensor (A) bracket from the front strut assembly
by loosening the mounting bolts (B).
|
Tightening torque:
(A) 6.8 ~ 10.7N.m (0.7 ~ 1.1kgf.m, 5.0 ~ 7.9lb-ft)
(B) 8.8 ~ 13.7N.m (0.9 ~ 1.4kgf.m, 6.5 ~ 10.1lb-ft)
|

|
| 4. |
Disconnect the stabilizer link (A) from the front strut assembly after
loosening the nut.
|
Tightening torque:
98.1 ~ 117.7N.m(10.0 ~ 12.0kgf.m, 72.3~86.8lb-ft)
|

|
| 5. |
Remove the cowl top cover (A).
(Refer to Body - "Cowl Top Cover")
|
| 6. |
Remove the cowl panell (A).

|
| 7. |
Remove the front strut assembly and then loosen the strut mounting nuts
(A).
|
Tightening torque:
44.1 ~ 58.8N.m(4.5 ~ 6.0kgf.m, 32.5~43.4lb-ft)
|

|
| 8. |
Disconnect the front strut assembly (A) from the knuckle by loosening
the bolt & nut.
|
Tightening torque:
137.3 ~ 156.9N.m(14.0 ~ 16.0kgf.m, 101.3 ~ 115.7lb-ft)
|

|
| 9. |
Installation is the reverse of removal.
|
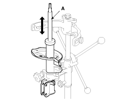
| 1. |
Using a strut spring compressor, compress the coil spring (A).
|
Tightening torque:
58.8 ~ 68.6N.m(6.0 ~ 7.0kgf.m, 43.4 ~ 50.6lb-ft)
|

| •
|
To prevent peeling the paint of coil spring, cover the
coil spring with a thin cloth or hose before installing
strut spring compressor.
|
| •
|
Set the compression position of strut spring compressor
correctly for coil spring not to slant when compressing
the coil spring.
|
|
|
| 2. |
Remove the self-locking nut (C) from the strut assembly (B).
|
| 3. |
Remove the insulator, spring seat, coil spring and dust cover from the
strut assembly.
|
| 4. |
Reassembly is the reverse of the disassembly.
|
| 1. |
Check the strut bearing for wear and damage.
|
| 2. |
Check the spring upper and lower seat for damage and deterioration.
|
| 3. |
Compress and extend the piston rod (A) and check that there is no abnormal
resistance or unusual sound during operation.

|
Disposal
| 1. |
Fully extend the piston rod.
|
| 2. |
Drill a hole on the (A) section to remove gas from the cylinder.

| •
|
The gas coming out is harmless but be careful of chips
that may tly when driling.
|
|
|
Components
1. Strut assembly
2. Insulator
3. Strut bearing
4. Spring upper pad
5. Coil spring
6. Dust cover
7. Bumper rubber
8. Spring lowe ...
Replacement
1.
Loosen the wheel nuts slightly.
Raise the vehicle, and make sure it is securely supported.
2.
Remove the front w ...
Other information:
Lower and push down the tailgate firmly. Make sure that the tailgate is securely
latched.
WARNING
Make sure your hands, feet and other parts of your body are safely out of
the way before closing the tailgate.
CAUTION
Make sure nothing is near the tailgate latch and striker while closing the
tail ...
Description
Camshaft Position Sensor (CMPS) is a hall sensor and detects the camshaft position
by using a hall element.
It is related with Crankshaft Position Sensor (CKPS) and detects the piston
position of each cylinder which the CKPS can't detect.
The CMPS is i ...