Kia Carens: Charging System / DC DC converter Schematic diagrams

Kia Carens RP (2013-2018) Service Manual / Engine Electrical System / Charging System / DC DC converter Schematic diagrams

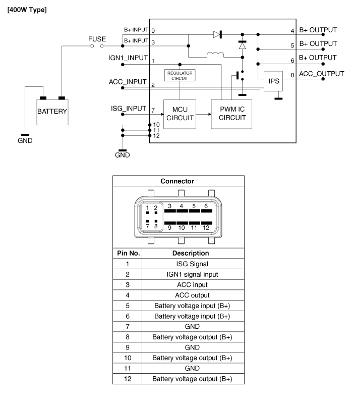
Circuit Diagram

DC DC converter Components and components location
Component Location 1. DC/DC converter [200W] 2. DC/DC converter [400W] ...

DC DC converter Repair procedures
Removal [200W] 1. Disconnect the battery negative terminal. 2. Remove the crash pad lower panel. (Refer to Body - "Cra ...

Other information:

Kia Carens RP (2013-2018) Service Manual: Passenger Airbag (PAB) Module Description and operation


Description The passenger airbag (PAB) is installed inside the crash pad and protects the front passenger in the event of a frontal crash. The SRSCM determines if and when to deploy the PAB.    Never atte ...

Kia Carens RP (2013-2018) Owners Manual: Immobilizer Indicator Light (With Smart Key)


This indicator light illuminates for up to 30 seconds: • When the vehicle detects the smart key in the vehicle properly while the Engine Start/Stop Button is ACC or ON. - At this time, you can start the engine. - The indicator light goes off after starting the engine. This indicator light blinks ...

Copyright © www.kicaman.com 2015-2026