Kia Carens: Cylinder Head Assembly / CVVT & Camshaft Repair procedures

Kia Carens RP (2013-2018) Service Manual / Engine Mechanical System / Cylinder Head Assembly / CVVT & Camshaft Repair procedures

Removal
1.
Remove the cylinder head cover.
(Refer to Cylinder Head Assembly - "Cylinder Head Cover")
2.
Turn the crankshaft damper pulley so that No. 1 piston is at top dead center.
(1)
Turn the crankshaft damper pulley and align its groove with the timing mark on the timing chain cover (0° mark on the timing scale).

(2)
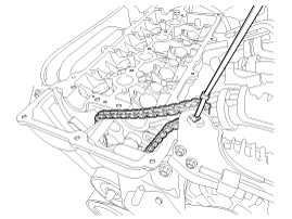
Check that the TDC timing marks on the intake and exhaust CVVT sprockets are in a straight line on the cylinder head surface as shown in the picture. If not, turn the crankshaft damper pulley by one revolution (360°).

  
Do not turn the crankshaft damper pulley counterclockwise.
(3)
Mark the timing chain links corresponding to the timing marks on the CVVT sprockets with a indelible marker.

3.
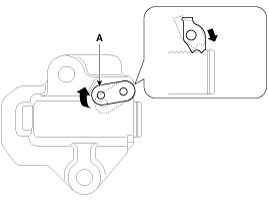
Remove the exhaust oil control valve (OCV) adaptor (A).

4.
Remove the camshaft bearing caps (A) in the order shown in the picture.

5.
Remove the engine mounting support bracket.
(1)
Put a jack under the oil pan.
  
Place a wooden block between the jack and the oil pan to prevent damage to the oil pan.
(2)
Disconnect the ground cable (A) and remove the engine mounting support bracket (B).

(3)
Lift the engine slightly using the jack to obtain space for releasing the timing chain tensioner.
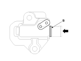
6.
Remove the bolt (A) from the service hole in the timing chain cover.

7.
Lock the timing chain tensioner in the fully retracted position.
(1)
Insert a pick into the service hole in the timing chain cover and lower the hole in the left side of the ratchet plate (A) on the tensioner to allow the pawl (B : located inside the tensioner behind the rachet plate) to be lifted.

(2)
With the pawl lifted, have a helper pull up the exhaust CVVT & camshaft (A) to allow the tensioner plunger (B) to retract.

(3)
With the tensioner plunger in the fully retracted position, raise the hole in the left side of the ratchet plate (A) again through the service hole in the chain cover to align the ratchet plate hole with the hole in the tensioner body behind the ratchet plate, then lock the tensioner by inserting the pick through the ratchet plate and tensioner body holes.

8.
Separate the exhaust camshaft (A) from the exhaust CVVT by removing the bolt.

9.
Remove the exhaust CVVT (A) from the timing chain.

10.
Remove the intake CVVT & camshaft (A).

  
Fasten the timing chain to the engine hanger with a cable tie or strap not to allow the timing chain to fall down when removing the intake CVVT & camshaft.

11.
Remove the intake CVVT (A) from the intake camshaft (B).

  
When removing the CVVT bolt, hold the hexagonal portion (B) on the camshaft with a wrench to prevent the camshaft from rotating.
Inspection
Camshaft
1.
Measure the height of the cam lobe using a micrometer and check the surface of the cam lob for wear and tear. If necessary, replace the camshaft.
Cam height
Intake : 44.15 mm (1.738 in.)
Exhaust : 43.55 mm (1.715 in.)

2.
Check the surface of the camshaft journal for wear and tear. If the camshaft journal is excessively damaged, replace the camshaft.
3.
Inspect the camshaft journal clearance.
(1)
Clean the camshaft journals and bearing caps.
(2)
Place the camshafts in the cylinder head.
(3)
Lay a strip of plastigauge across each of the camshaft journals.

(4)
Install the bearing caps and tighten the bolts to the specified torque.
Tightening torque
1st step
M6 bolt : 5.9 N.m (0.6 kgf.m, 4.3 lb-ft)
M8 bolt : 9.8 N.m (1.0 kgf.m, 7.2 lb-ft)
2nd step
M6 bolts :
11.8 ~ 13.7N.m (1.2 ~ 1.4kgf.m, 8.7 ~ 10.1lb-ft)
M8 bolts :
18.6 ~ 22.6N.m (1.9 ~ 2.3kgf.m, 13.7 ~ 16.6lb-ft)
  
Do not turn the camshaft.
(5)
Remove the bearing caps.
(6)
Measure the plastigauge at the widest point. If the clearance is greater than the specification, replace the camshaft. If necessary, replace the bearing caps and the cylinder head as a set.
Camshaft bearing cap oil clearance
Standard :
0.027 ~ 0.058 mm (0.0011 ~ 0.0023 in.)
Limit : 0.1 mm (0.0039 in.)

4.
Inspect the camshaft end play.
(1)
Inspect the camshaft end play.
(2)
Measure the end play while moving the camshaft back and forth using a dial gauge. If the end play is greater than the specification, replace the camshaft. If necessary, replace the bearing caps and the cylinder head as a set.
Camshaft end play
Standard : 0.1 ~ 0.2 mm (0.0039 ~ 0.0079 in.)

(3)
Remove the camshafts.
CVVT (Continuously Variable Valve Timing) Assembly
1.
Inspect the CVVT for smooth rotation.
(1)
Clamp the camshaft using a vise. Be careful not to damage the cam lobes and journals in the vise.
(2)
Check that the CVVT is locked by turning it clockwise or counterclockwise. It must not rotate.
(3)
Intake CVVT : Seal one of the two advance holes in the camshaft journal with tape.
Exhaust CVVT : Seal one of the two retard holes in the camshaft journal with tape.

(4)
Intake CVVT : Apply approx. 150 kPa (1.5 kgf/cm², 21 psi ) of compressed air into the unsealed advance hole to release the lock.
Exhaust CVVT : Apply approx. 150 kPa (1.5 kgf/cm², 21 psi ) of compressed air into the unsealed retard hole to release the lock.
  
Cover the oil paths with a piece of cloth when applying compressed air to prevent oil from spraying.
(5)
Intake CVVT : With compressed air applied, rotate the CVVT into the advance direction (counterclockwise) within its phasing range and check that the CVVT turns smoothly.
Exhaust CVVT : With compressed air applied, rotate the CVVT into the retard direction (clockwise) and check that the CVVT turns smoothly.
CVVT phasing range
Intake : 25°±1° (from the most retarded position to the most advanced position)
Exhaust : 20°±1° (from the most advanced position to the most retarded position)

(6)
Intake CVVT : Rotate the CVVT into the most retarded position (clockwise) and then check that the CVVT is locked.
Exhaust CVVT : Rotate the CVVT into the most advanced position (counterclockwise) and then check that the CVVT is locked.
Installation
1.
Install the intake CVVT (A) to the intake camshaft.
Tightening torque :
63.7 ~ 73.5 N.m (6.5 ~ 7.5 kgf.m, 47.0 ~ 54.2 lb-ft)

  
When installing the CVVT bolt, hold the hexagonal portion (B) on the camshaft with a wrench to prevent the camshaft from rotating.
2.
Install the intake CVVT & camshaft (A), with the timing mark on the intake CVVT sprocket aligned with the mark (painted link) on the timing chain.

3.
Install the exhaust CVVT (A), with the timing mark on the exhaust CVVT sprocket aligned with the mark (painted link) on the timing chain.

4.
Install the exhaust camshaft (A) to the exhaust CVVT.
Tightening torque :
63.7 ~ 73.5 N.m (6.5 ~ 7.5 kgf.m, 47.0 ~ 54.2 lb-ft)

5.
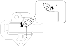
Remove the pick from the service hole in the timing chain cover.

6.
Check that each timing mark of the intake and exhaust CVVT sprockets is aligned as shown in the picture.

7.
Install the bolt (A) to the service hole in the timing chain cover.
Tightening torque :
27.5 ~ 30.4 N.m (2.8 ~ 3.1 kgf.m, 20.3 ~ 22.4 lb-ft)

8.
Install the engine mounting support bracket.
(1)
Connect the ground cable (A) and intall the engine mounting support bracket (B).
Tightening torque
Ground cable bolt : 10.8 ~ 13.7 N.m (1.1 ~ 1.4 kgf.m, 8.0 ~ 10.1 lb-ft)
Bolt (C) : 78.5 ~ 98.1 N.m (8.0 ~ 10.0 kgf.m, 57.9 ~ 72.3 lb-ft)
Bolt and Nuts (D) : 58.8 ~ 73.5 N.m (6.0 ~ 7.5 kgf.m, 43.4 ~ 54.2 lb-ft)

(2)
Remove the jack from the oil pan.
9.
Install the camshaft bearing caps (A) in the order shown in the picture and tighten the bolts to the specified torque.
Tightening torque
1st step
M6 bolt : 5.9 N.m (0.6 kgf.m, 4.3 lb-ft)
M8 bolt : 9.8 N.m (1.0 kgf.m, 7.2 lb-ft)
2nd step
M6 bolts :
11.8 ~ 13.7N.m (1.2 ~ 1.4kgf.m, 8.7 ~ 10.1lb-ft)
M8 bolts :
18.6 ~ 22.6N.m (1.9 ~ 2.3kgf.m, 13.7 ~ 16.6lb-ft)

10.
Install the exhaust oil control valve (OCV) adaptor (A).
Tightening torque :
9.8 ~ 11.8 N.m (1.0 ~ 1.2 kgf.m, 7.2 ~ 8.7 lb-ft)

  
Check that the front camshaft bearing cap O-ring is properly seated in place when installing the OCV adaptor.
11.
Install the cylinder head cover.
(Refer to Cylinder Head Assembly - "Cylinder Head Cover")
CVVT & Camshaft Description and operation
Description Continuous Variable Valve Timing (CVVT) system advances or retards the valve timing of the intake and exhaust valve in accordance with the ECM control signal which is ...

Cylinder Head Components and components location
Components 1. Cylinder head assembly 2. MLA 3. Retainer lock 4. Retainer 5. Valve stem seal 6. Valve spring 7. Valve spring seat 8. OCV (Oi ...

Other information:

Kia Carens RP (2013-2018) Owners Manual: Good braking practices


WARNING Whenever you leave or park your vehicle, always set the parking brake as far as possible and fully engage the vehicle's transaxle into the P (Park) position. If the parking brake is not fully engaged, the vehicle may move inadvertently and injure yourself and others. All vehicles sh ...

Kia Carens RP (2013-2018) Service Manual: Output Speed Sensor Specifications


Specifications ▷ Type: Hall effect sensor Operation condition [°C(°F)] ((-)40 ~ 150)) -40 ~ 302 Air gap(mm)in. (0.85 ~ 1.3) 0.0335 ~ 0.0512 Output voltage High 1.18 ~ 1.68 ...

Copyright © www.kicaman.com 2015-2026