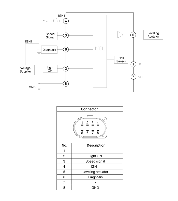
Kia Carens: Auto Head Lamp Leveling Device / Auto Head Lamp Leveling Unit Schematic diagrams

Inspection with GDS
Initialization and diagnosis sequence by using GDS equipment.
Below content summarize the procedure for A/S using GDS.
No.
Proced ...
Description
According to driving environment and loading state of vehicle, head lamp lighting
direction is changed to keep the driver's visibility range and to protect the
dr ...
Other information:
Specifications
Items
Specification
Rated voltage
DC 12V
Operating voltage
9 - 16V
Operating speed
15 - 250㎞/h
Sensible distance
70 m (Sed ...
Components
1. Clutch
switch
2. Ignition lock switch
3. Clutch pedal assembly
4. Master cylinder assembly
5. Connector
(Only diesel)
6. Regulator (Only diesel)
7. Clutch tube
8. Clutch release cylinder
...