Kia Carens: General Information / Special service tools

Kia Carens RP (2013-2018) Service Manual / Engine Mechanical System / General Information / Special service tools

Special Service Tools
Tool (Number and name)
Illustration
Use
Crankshaft front oil seal installer
(09455-21200)

Installation of the front oil seal
Valve stem oil seal installer
(09222-2B100)

Installation of the valve stem oil seal
Valve spring compressor and holder
A : (09222-3K000)
B : (09222-3K100)

Removal and installation of the intake or exhaust valve
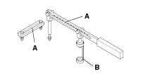
Crankshaft rear oil seal installer
A : (09231-H1100)
B : (09231-2B200)

Installation of the crankshaft rear oil seal
Ring gear stoppper
(09231-2B100)

Removal and installation of crankshaft pulley bolt.
Ring gear stopper
(09231-3D100)

Removal and installation of crankshaft pulley bolt.
Oil filter wrench
(09263-2E000)

Removal and installation of oil filter
Oil pan remover
(09215-3C000)

Removal of oil pan
Torque angle adapter
(09221-4A000)

Installation of bolts & nuts needing an angular method

Troubleshooting
Troubleshooting Symptom Suspect area Remedy Engine misfire with abnormal internal lower engine noises. Loose or impro ...

Engine And Transmission Assembly
...

Other information:

Kia Carens RP (2013-2018) Owners Manual: Cigarette lighter


For the cigarette lighter to work, the ignition switch must be in the ACC position or the ON position. To use the cigarette lighter: Push the lighter all the way into the socket. When the element has heated, the lighter will pop out to the "ready" position. We recommend that you use parts for repl ...

Kia Carens RP (2013-2018) Owners Manual: Headlight washer


If your vehicle is equipped with the headlight washer it will operate at the same time when you operate the windshield washer. It will operate when the headlight switch is in the first or second position and the ignition switch or engine start/stop button is in the ON position. The washer fluid ...

Copyright © www.kicaman.com 2015-2026