Kia Carens: Front Seat / Front Seat Cushion Cover Repair procedures
| • |
Put on gloves to protect your hands.
|
|
| • |
When prying with a flat-tip screwdriver, wrap it with protective
tape, and apply protective tape around the related parts, to
prevent damage.
|
| • |
Use a plastic panel removal tool to remove interior trim pieces
to protect from marring the surface.
|
| • |
Take care not to bend or scratch the trim and panels.
|
|
| 1. |
Remove the front seat shield inner cover.
(Refer to Front Seat - "Front Seat Shield Inner Cover")
|
| 2. |
Remove the front seat shield outer cover.
(Refer to Front Seat - "Front Seat Shield Outer Cover")
|
| 3. |
Remove the front seat lower protector (A).

|
| 4. |
Disconnect the front seat heater connectors (A).

|
| 5. |
To remove the air ventilation seat cushion duct (A), widen the both
sides of the clips (B) as the direction of the arrow and then pull down
the air ventilation seat cushion duct.

|
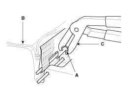
| 6. |
Pull out the hooks (A), and then front seat cushion cover (C) from the
front seat cushion frame (B).

|
| 7. |
Remove the front seat cushion cover (A) from the front seat cushion
frame.

|
| 8. |
After removing the velcro tape (A) and hog-ring clips (B) on the front
of seat cushion and remove the front seat cushion cover (C).

|
| 9. |
Install in the reverse order of removal.
| •
|
To prevent wrinkles, make sure the material is stretched
evenly over the cover (B) before securing the hog-ring
clips (A).
|
| •
|
Replace the hog-ring clips with new ones using special
tool (C) (09880-4F000).
|
|

|
Component Location
1. Front seat cushion cover
...
Component Location
1. Front seat back frame assembly
2. Front seat cushion frame assembly
...
Other information:
Removal
1.
Disconnect the negative (-) battery terminal.
2.
Using a screwdriver or remover, remove the luggage lamp (A).
3.
Remove the luggage lamp (A) after disconnecting the connector (B).
...
Components
[Gasoline 1.6 / 2.0, Diesel 1.7 LP]
[Diesel 1.7 HP]
1. Engine flywheel
2. Clutch disc
3. Clutch cover
4. Manual transaxle
...