Kia Carens: Ignition Lock Switch / Repair procedures
Component Inspection
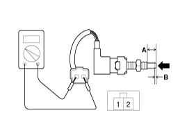
| 1. |
Remove the ignition lock switch.
|
| 2. |
Push the ignition lock switch in the direction of the arrow to make
sure that continuity between terminals. (refer to the table below)
|
Standard value :
Full stroke (A): 12.0 ± 0.3mm (0.4724 ± 0.0118 in.)
ON-OFF point (B): 2.0 mm (0.0787 in.)
|

|
Condition
|
Clutch Pedal pressed
|
Clutch Pedal Released
|
Switch Operation
|
ON (below 1.0Ω )
|
OFF ( Infinite Ω )
|
|
|
| 1. |
Disconnect the negative (-) battery cable.
|
| 2. |
Remove the smart junction box.
(Refer to Body Electrical System - "Relay Box (Passenger Compartment)")
|
| 3. |
Disconnect the ignition lock switch connector (A).

|
| 4. |
Remove the ignition lock switch by loosening a nut (A).

|
| 1. |
Install in the reverse order of removal.
|
| 2. |
Adjust the ignition lock switch.
| (1) |
In state of full stroke, adjust the gab by rotating the adjust
nut (A) to satisfy the standard gap range.
|
Standard gap range :
3 ~ 4 mm (0.1181 ~ 0.1575 in.)
|
|
| (2) |
Tighten the nut (B) with the specified torque.
|
Tightening torque:
7.8 ~ 9.8 N.m (0.8 ~ 1.0 kgf.m, 5.8 ~ 7.2 lb-ft)
|
|

|
Specifications
Item
Specifications
Working voltage
DC
12V
Operating force
9.8 ± 2.9N
...
Other information:
Components
1. Drive belt tensioner
...
The Smart Parking Assist System helps drivers park their vehicle by using sensors
to measure parallel parking spaces, control the steering wheel to semi-automatically
park the vehicle and provide instruction on the LCD display to help through parking.
✽ NOTICE
The vehicle will not stop for pe ...